Showing 1 to 15 of 99 results
Healthy, Active and Satisfactory Aging Program with institutionalized seniors (HASAPIS)

Healthy, Active and Satisfactory Aging Program with institutionalized seniors (HASAPIS)

Innovative Products and Technologies UNIVERSIDAD DE BURGOS
New test for components subjected to high pressure (up to 6000 bar)

New test for components subjected to high pressure (up to 6000 bar)

Innovative Products and Technologies UNIVERSIDAD DE BURGOS
BEBE-Learning, software to assist in the early detection of Autism Spectrum Disorder (ASD)

BEBE-Learning, software to assist in the early detection of Autism Spectrum Disorder (ASD)

Innovative Products and Technologies UNIVERSIDAD DE BURGOS
Market research, consumer studies and advice for the development of online and mobile commerce

Market research, consumer studies and advice for the development of online and mobile commerce

Innovative Products and Technologies UNIVERSIDAD DE BURGOS
Antibacterial Agent for Healthcare Applications

Antibacterial Agent for Healthcare Applications

Patents for licensing UNIVERSIDAD DE BURGOS
Neural models based on unsupervised learning for the visualization of large data sets

Neural models based on unsupervised learning for the visualization of large data sets

Innovative Products and Technologies UNIVERSIDAD DE BURGOS
Prehistory in Equality: A Digital Platform for the Critical Evaluation of Prehistoric Children’s Literature

Prehistory in Equality: A Digital Platform for the Critical Evaluation of Prehistoric Children’s Literature

Patents for licensing UNIVERSIDAD DE BURGOS
Electrochemical sensor for the “in situ” detection and measurement of chloride ion in fluid samples

Electrochemical sensor for the “in situ” detection and measurement of chloride ion in fluid samples

Innovative Products and Technologies UNIVERSIDAD DE BURGOS
Fire hose element to facilitate the work of firefighters

Fire hose element to facilitate the work of firefighters

Innovative Products and Technologies UNIVERSIDAD DE BURGOS
Material capable of detecting the decomposition of certain packaged foods.

Material capable of detecting the decomposition of certain packaged foods.

Innovative Products and Technologies UNIVERSIDAD DE BURGOS
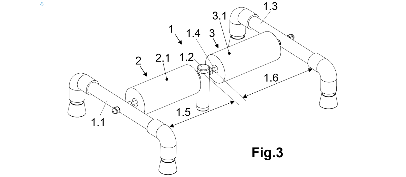
Ergonomic roller for releasing energy in people with hyperactivity, stress, or anxiety

Ergonomic roller for releasing energy in people with hyperactivity, stress, or anxiety

Patents for licensing UNIVERSIDAD DE BURGOS
Fluorometric sensor based on a polymeric material, for the “in situ” detection and quantification of anions, principally chlor[…]

Fluorometric sensor based on a polymeric material, for the “in situ” detection and quantification of anions, principally chlor[…]

Innovative Products and Technologies UNIVERSIDAD DE BURGOS
Device for detecting and monitoring lactate in sweat

Device for detecting and monitoring lactate in sweat

Innovative Products and Technologies UNIVERSIDAD DE BURGOS
Syrupy products powder preparation method

Syrupy products powder preparation method

Innovative Products and Technologies UNIVERSIDAD DE BURGOS
Tank for pressure measuring cells in geotechnical applications

Tank for pressure measuring cells in geotechnical applications

Innovative Products and Technologies UNIVERSIDAD DE BURGOS